TEXAS MICROSYSTEMS, INC.

P6000FX (OPTION B)

Processor

Pentium Pro

Processor Speed

166/180/200MHz

Chip Set

Unidentified

Video Chip Set

None

Maximum Onboard Memory

256MB

Maximum Video Memory

None

Cache

256/512KB (located on Pentium Pro CPU)

BIOS

Unidentified

Dimensions

305mm x 244mm

I/O Options (CPU)

Floppy drive interface, IDE interface, SCSI interface, parallel port, PS/2 mouse interface, serial ports (2), cache slot, USB connectors (2)

I/O Options (Backplane)

32-bit PCI slots (6), CPU slot

NPU Options

None

CONNECTIONS

Purpose

Location

Purpose

Location

IDE interface LED

CN1

Serial port 2

CN7

IDE interface

CN2

Serial port 1

CN8

SCSI interface

CN3

Parallel port

CN9

Floppy drive interface

CN4

AT keyboard connector

CN10

USB connector 1

CN5

PS/2 mouse interface

CN11

USB connector 2

CN6

+12v header

CN12

USER CONFIGURABLE SETTINGS

Function

Label

Position

»

Factory configured - do not alter

C1

Unidentified

»

Factory configured - do not alter

JP13

Open

»

PS/2 IRQ 12 enabled

JP17

Pins 2 & 3 closed

 

Next Step OS used

JP17

Pins 1 & 2 closed

»

Temperature sensor disabled

JP18

Open

 

Temperature sensor enabled

JP18

Closed

»

Monitor type select color

SW1/1

On

 

Monitor type select monochrome

SW1/1

Off

»

Flash BIOS enabled

SW1/2

Off

 

Flash BIOS disabled

SW1/2

On

»

CMOS memory normal operation

SW1/3

Off

 

CMOS memory clear

SW1/3

On

»

I/O address select 270H

SW1/4

Off

 

I/O address select 370H

SW1/4

On

DRAM CONFIGURATION

Size

Bank 0

Bank 1

8MB

(2) 1M x 36

None

16MB

(2) 2M x 36

None

16MB

(2) 1M x 36

(2) 1M x 36

24MB

(2) 2M x 36

(2) 1M x 36

32MB

(2) 4M x 36

None

32MB

(2) 2M x 36

(2) 2M x 36

40MB

(2) 4M x 36

(2) 1M x 36

48MB

(2) 4M x 36

(2) 2M x 36

64MB

(2) 8M x 36

None

64MB

(2) 4M x 36

(2) 4M x 36

72MB

(2) 8M x 36

(2) 1M x 36

80MB

(2) 8M x 36

(2) 2M x 36

96MB

(2) 8M x 36

(2) 4M x 36

128MB

(2) 8M x 36

(2) 8M x 36

128MB

(2) 16M x 36

None

136MB

(2) 16M x 36

(2) 1M x 36

144MB

(2) 16M x 36

(2) 2M x 36

160MB

(2) 16M x 36

(2) 4M x 36

192MB

(2) 16M x 36

(2) 8M x 36

256MB

(2) 16M x 36

(2) 16M x 36

CACHE CONFIGURATION

Note: 256KB/512KB cache is located on the Pentium Pro CPU.

CPU SPEED SELECTION

CPU speed

Clock speed

Multiplier

JP3

JP4

JP7

166MHz

66MHz

2.5x

Closed

Open

Closed

180MHz

60MHz

3x

Open

Closed

Closed

200MHz

66MHz

3x

Open

Closed

Closed

CPU SPEED SELECTION (CON’T)

CPU speed

Clock speed

Multiplier

JP8

JP15

JP16

166MHz

66MHz

2.5x

Closed

Closed

Open

180MHz

60MHz

3x

Closed

Open

Closed

200MHz

66MHz

3x

Closed

Closed

Open

CPU VOLTAGE SELECTION

Voltage

JP1

JP2

JP5

JP6

»

3.3v

Closed

Closed

Open

Closed

SERIAL PORT 2 SELECTION

Setting

JP10

JP11

JP12

»

RS232

Pins 2 & 3 closed

Pins 2 & 3 closed

Pins 2 & 3 closed

 

RS422

Pins 1 & 2 closed

Pins 1 & 2 closed

Pins 1 & 2 closed

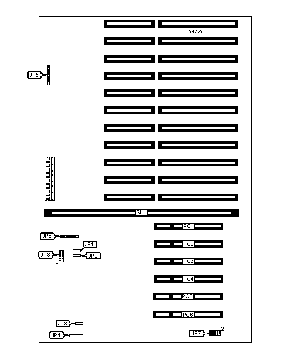
CONNECTIONS

Purpose

Location

Purpose

Location

Front keyboard connector

JP4

Front panel connector

JP8

Rear keyboard connector

JP5

CPU slot

SL1

CPU interface

JP6

   

USER CONFIGURABLE SETTINGS

Function

Label

Position

»

Factory configured - do not alter

JP1

Unidentified

»

Factory configured - do not alter

JP2

Unidentified

»

Factory configured - do not alter

JP3

Unidentified

»

Factory configured - do not alter (PCI J tag)

JP7

Unidentified